CPA-40/600V 光伏電涌保護器 /1000V /1400V
閱讀次數:1383 發布時間:2020-09-09

CPA-40/600V型電源模塊浪涌保護器具有殘壓低、響應速度快、CPA-40/1000V 通流容量大,產品壽命長、CPA-40/1400V維護簡單、安裝方便!十五年防雷經驗,技術可靠, CPA-20-48V避雷器,應用范圍廣, 價格合理,產品精良,性能優越!
太陽能光伏系列電涌保護器
產品介紹
II級( C級)的浪涌保護器,專為太陽能光伏系統設計,包括600V.1000V和1400V三種規格,符合IEC60364-7-712 ( 光伏系統的安裝)標準。
產品特點
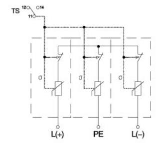
※完整的預接線底座,便于光伏系統特有的接線模式
※Y型接線方式,避免發電機電路因絕緣故障損害避雷器
※防雷模塊可以通過機械編碼加以區別,避免維修時選擇錯誤的電壓以及電流模塊
產品參數:CPA-40/600v、CPA-40/1000v、CPA-40/1400v
型 號 | CPA-40/600v | CPA-40/1000v | CPA-40/1400v |
輸出電壓Un | s600v | ≤100ov | s140ov |
最大持續工作電壓Uc | 70ov | 1060V | 149ov |
標稱放電電流(8/20us) | 20kA | 2okA | 2okA |
最大放電電流(8/20us) | 40kA | 40kA | 40kA |
保護電壓Up(In下) | 3.okV | 5.okV | 7.0kV |
響應時間ta | ≤25ns | ≤25ns | ≤25ns |
劣化熱脫離功能 | 有 | ||
劣化指示功能 | 有(劣化以后綠色變成紅色) | ||
工作狀態遙信觸點 | 有(帶后綴“/S”型號) | ||
工作溫度范圍 | -40—+80℃ | ||
安裝方式 | 35mmDIN導軌 | ||
接地方式 | 接地螺絲端子 | ||
連接端子導線規格 | o.2—4mm2單股硬線,0.2—2.5mm2多股軟線 | ||
外殼材料 | PBT/PA | ||
防護等級 | IP20 | ||
產品尺寸/產品原理圖


相關產品型號:CPA-100/4P , CPA-80/4P , CPA-60/4P , CPA-40/4P , CPA-20/4P , CPA-20-12V ,CPA-20-24V ,CPA-20-48V , CPA-40/600V、CPA-40/1000V、CPA-40/1400V




